MOLEX

Příslušenství, Profibus

Připojení pomocí záznamu M12 a B-kódu je ideální pro rychlé a spolehlivé připojení. Kabel je připojen pomocí šroubu, což zajišťuje pevné spojení. Tato kombinace připojení je vhodná pro různé aplikace a poskytuje stabilitu a odolnost.
  • Rozdvojky, rezistory, konektory

Vybraná varianta

Varianty produkty

Vybraná varianta

Specifikace

Kódování B
LED indikátor Ne
Materiál konektoru Kov
Procesní připojení M12
Stínění Ano

Popis produktu

Profibus

Připojení

závit M12, B-kód

Připojení kabelu

šroub

Jmenovitý proud / napětí

4 A/250 V st/ss

Teplotní rozsah

-25 °C až +90 °C

Průměr kabelu

4.1-8.1 mm

Třída krytí

IP68

 

Objednací informace

M12, bez kabelu, přímá samice

 

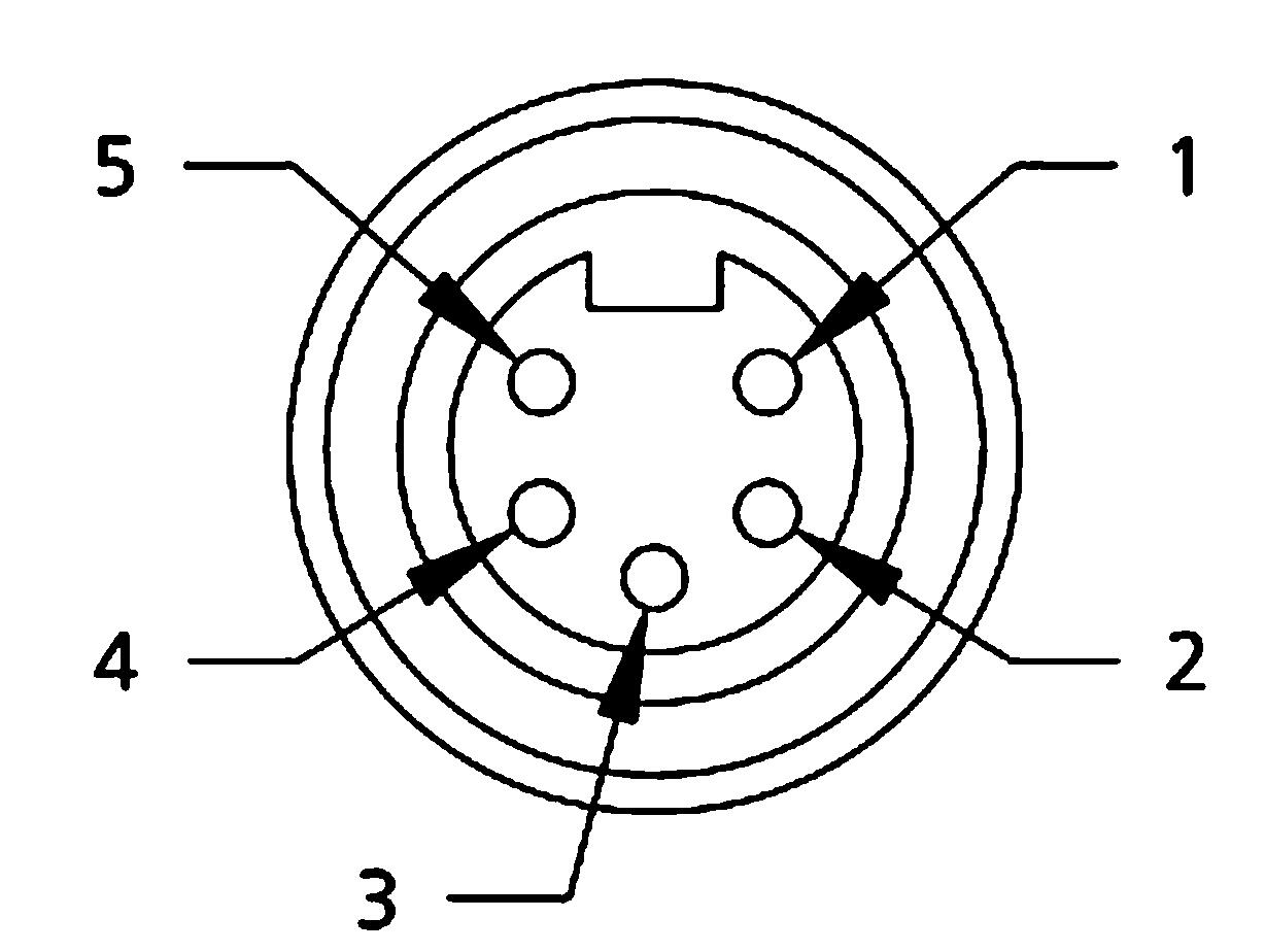
M12, without cable, straight female

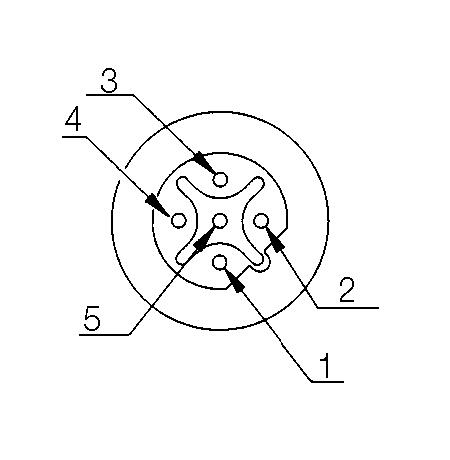
M12. without cable, striaght male, dimension

Jumpercable for Profibus, connecting sketch

Objednací čísla

 

 

BA5S0032

 

 

 

 

 

M12, bez kabelu, přímý samec

 

M12, without cable, straight male

M12, without cable, straight male, dimension

Connecting sketch male

Objednací čísla

 

 

BA5S0632

 

 

 

 

 

Zakončovací odpor

Terminology resistance

Terminology resistance, dimension

Terminology resistance, connection sketch

Objednací čísla

 

 

B05S06

 

 

 

 

 

Mini-change®,
bez kabelu, 7/8"UN

5-pól samec

5-pól samice

Mini-Change, without cabel, female

Mini-Change without cable, female dimension

Mini-Change without cable, female, connection 4-polesMini-Change without cable, female, connection 5-poles

Objednací čísla

Popis

 

1A4000345

5-pól samec

 

1A5000345

5-pól samice

 

 

 

 

Rozbočka, Bus

 

 

Branching Bus

Branching Bus, connecting sketch

Objednací čísla

 

 

PDTS01

 

 

 

 

 

Napěťová rozbočka 7/8" UN

 

Branching voltage

Branching voltage, dimension

Branching electric, circuit diagram

Objednací čísla

 

 

PBAPT

 

 

 

Příslušenství

INSPO

Produktové zprávy

Digitalizace průmyslu 4.0

Instalace a uvedení senzorů IO-link do provozu jsou extrémně úsporné z hlediska času i nákladů. V praxi je spojení point-to-point na úrovni pole vytvořeno z různých senzorů k IO-link masterům a odtud prostřednictvím systémů polní sběrnice k PLC.

Produktové zprávy

Nová generace klimatizačních jednotek SLIMLINE NEO

Seifert Systems uvádí SLIMLINE NEO: Revoluční chlazení s R290 bez PFAS. Invertorová technologie srazí náklady a chrání klima. Budoucnost je teď.

Produktové zprávy

Průmyslové LED osvětlení strojů

Objevte HELULIGHT Smart-Process – moderní LED signalizační jednotku pro přehlednou vizualizaci stavu strojů. Nabízí libovolné nastavení barev, paměť po výpadku napájení a snadnou integraci do všech běžných řídicích systémů.

Produktové zprávy

Klimatizace pro potravinářský a nápojový průmysl

Zajistěte bezchybný výkon a chraňte veřejné zdraví. Tento průvodce vám pomůže vybrat zařízení, které odolá drsným podmínkám potravinářské výroby a splní veškeré regulační požadavky.

Produktové zprávy

Laserový snímač vzdálenosti HG-F

Přesná detekce pomocí laserového snímače vzdálenosti HG-F od společnosti Panasonic Industry

Seifert Systems Prumyslove chlazeni
Produktové zprávy

Seifert Systems Průkopník v oblasti průmyslového chlazení

Již více než půl století je společnost Seifert Systems v čele vývoje inovativních řešení chlazení, která vyhovují různorodým potřebám průmyslu po celém světě.

Objednací číslo Kódování Procesní připojení Stínění Cena
B
M12
Ano
B
M12
Ano
7/8"

Vybraná varianta

Vyberte variantu ze seznamu

Kontakt

Tomáš Zapadlík

Product support - Machine

+420 734 244 815
Poslat e-mail
Zákaznický servis
Kontaktujte nás:
+420 241 484 940
Poslat e-mail
Potřebujete pomoci?
Logo

Cookies nastavení oemautomatic.cz

Soubory cookies nám pomáhají zlepšovat vaši zkušenost s námi a proto, abychom mohli zpracovávat přihlašovací údaje, nabízet personalizovaný obsah a pro základní funkčnost tohoto webu používáme některé soubory cookies.

Nikdy nebudeme prodávat žádné informace o vás.

Můžete přijmout všechny soubory cookies nebo přizpůsobit své preference týkající se souborů cookies, můžete také kdykoli změnit své preference pro soubory cookies návštěvou naší kontaktní stránky.


Nezbytné soubory cookies

Tyto soubory cookies jsou nezbytné pro fungování webu a nelze je v našich systémech vypnout. Obvykle se používají pouze v reakci na akce, které jste provedli v souvislosti s požadavkem na službu, například při nastavení osobních preferencí, přihlášení nebo vyplnění formuláře.

Soubory cookies pro analýzu a měření

Tyto soubory cookies nám umožňují počítat počet návštěv a zdroje návštěvnosti, abychom mohli měřit a zlepšovat výkon našich webových stránek. Pomáhají nám zjistit, které stránky jsou více či méně oblíbené a jak se návštěvníci po webu pohybují. Informace, které tyto cookies shromažďují jsou agregované, a tedy zcela anonymní. Pokud tyto soubory nepovolíte, nevíme, kdy jste navštívili naše webové stránky.

Marketingové soubory cookies

Tyto soubory cookies mohou přidat naši partneři. Mohou je použít k vytvoření vašeho profilu na základě vašich zájmů, aby vám mohli zobrazovat relevantnější informace. Neukládají žádné osobní údaje – pouze informace o vašem prohlížeči a zařízení. Pokud tyto cookies nepřijmete, budete mít obecnější a méně přizpůsobenou uživatelskou zkušenost.