COMATRELECO

Patice pro relé řady C7 a C9

Hledáte spolehlivé a přizpůsobitelné základny pro vaše relé? Patice od Comat/Releco jsou ideálním řešením.
  • Montáž na lištu nebo panel
  • V ceně přídržný klips
  • Šířka pouze 22,5 mm
  • Dodávají se s povolenými šrouby
S7-C.JPG

S7-P_front.tiff

S7P - Patice pro relé C7,do ploš.sp.

Industry relays QRC S710

S7IO

Vybraná varianta

Varianty produkty

Vybraná varianta

Specifikace

Hmotnost 37 g
Izolace propojení/lišta 2500 V
Izolace propojení/propojení 2500 V
Materiál Lexan
Min. spínací napětí 250 V
Moment utažení 0,7
Připojení více vodičů 0,75-1,5 mm²
Provozní teplota max. 60 °C
Provozní teplota min. -40 °C
Teplota skladování do 80 °C
Teplota skladování od -40 °C
Velikost šroubu M3, Pozi
Vypínací proud 10 A

Ke stažení

Rozměry a připojení

Popis produktu

Typ

S7M

S7IO

S9M

Pro relé

C7

C7

C9

Popis

Patice se šroubovými svorkami
montáž na DIN lištu

Patice se šroubovými svorkami
montáž na DIN lištu

Patice se šroubovými svorkami
montáž na DIN lištu

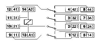
Připojení

Connecting drawing to S7IO

Connecting drawing to S9M

Jmenovitá zátěž

10 A/ 250 V

6 A/ 250 V

Izolační napětí mezi kontakty

2500 V

IIzolační napětí spoj/ lišta

Velikost šroubů

M3

Utahovací moment
pro připojení vodičů

1.2 Nm

 

 

Pevný vodič

4 mm² 2x2.25 mm²

Lankový vodič

22-14 AWG

Materiál

Cicoloy, Noryl

Hmotnost

39 g

43 g

62 g

Provozní teplota

-20 °C až +60 °C

Homologace

na vyžádání zašleme aktuální informace

 

 

Industry relays QRC S9M

 

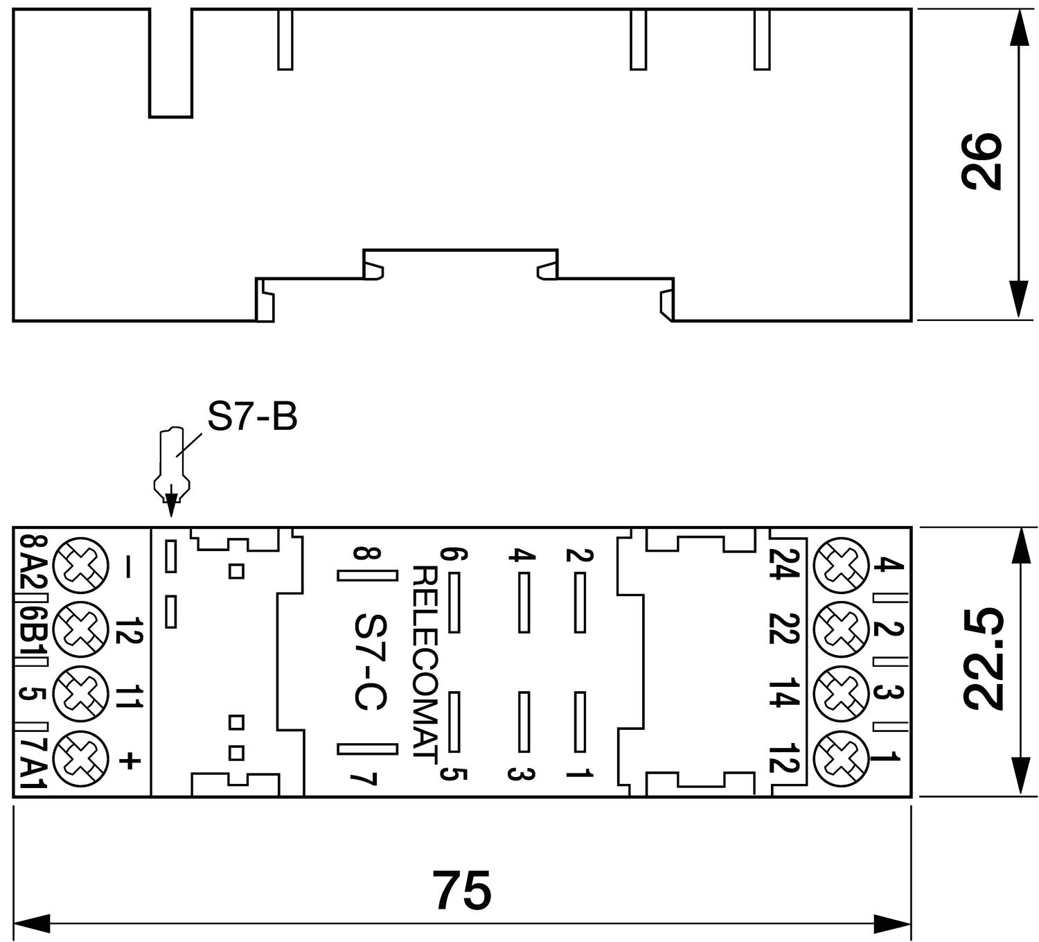
Rozměry

S7M

S7IO

S9M

Dimensions drawing to S9M

 

Objednací informace

Objednací čísla

Popis

E-kód

S7M

Šroubovací patice pro relé řady C7 s klipsem a popisným štítkem pro relé C7

E4016554

S7IO

Šroubovací patice pro relé řady C7 s klipsem a popisným štítkem pro relé C7, 2x A2
pro klemování

E4017077

S9M

Šroubovací patice s klipsem a popisným štítkem pro relé C9

E4016555

S7BB

Propojovací hřeben pro S7I0, pro 5 patic (balení po 5 ks)

E4017078

S7P

Patice pro relé řady C7 do plošného spoje s klipsem a popisným štítkem

E4016552

S9L

Pájecí patice pro relé řady C9 s klipsem a popisným štítkem

E4016556

S9P

Patice pro relé řady C9 do plošného spoje s klipsem a popisným štítkem

E4016557



Technické parametry a rozměry pájecích patic a patic do plošných spojů jsou k dispozici na vyžádání.

Příslušenství

INSPO

Produktové zprávy

Facility Management 4.0: Jak zajistit maximální bezpečnost a energetickou efektivitu vaší budovy

Moderní budovy již nejsou pouze statickými strukturami z betonu a skla. Stávají se z nich "živé organismy" řízené sofistikovanými nervovými systémy. Technologie pro monitorování a řízení procesů, často souhrnně označované jako BMS (Building Management Systems) nebo MaR (Měření a Regulace), jsou klíčové pro efektivitu, bezpečnost a komfort uživatelů.

Produktové zprávy

Efektivní oddělení řídicích a procesních obvodů pomocí reléových modulů DELCON

Případová studie z oblasti papírenského a chemického průmyslu

Produktové zprávy

Nová generace klimatizačních jednotek SLIMLINE NEO

Seifert Systems uvádí SLIMLINE NEO: Revoluční chlazení s R290 bez PFAS. Invertorová technologie srazí náklady a chrání klima. Budoucnost je teď.

Produktové zprávy

Adel System

Oznamuje navázání nové strategické spolupráce s italským výrobcem ADEL System, lídrem v oblasti zálohovaného napájení. Toto partnerství rozšiřuje naše portfolio o špičkové průmyslové napájecí zdroje, DC-UPS systémy a inteligentní nabíječky baterií, které jsou navrženy pro maximální spolehlivost a bezpečnost v nejnáročnějších aplikacích.

Produktové zprávy

Klimatizace pro potravinářský a nápojový průmysl

Zajistěte bezchybný výkon a chraňte veřejné zdraví. Tento průvodce vám pomůže vybrat zařízení, které odolá drsným podmínkám potravinářské výroby a splní veškeré regulační požadavky.

Produktové zprávy

Napájecí zdroj Puls s displejem

Informace přímo z displeje vašeho napájecího zdroje. Věděli jste, že informace můžete získat přímo z vašeho napájecího zdroje?

Objednací číslo Hmotnost Izolace propojení/lišta Izolace propojení/propojení Materiál Moment utažení Připojení více vodičů Velikost šroubu Cena
37 g
2500 V
2500 V
Lexan
0,7
0,75-1,5 mm²
M3, Pozi
38 g
2500 V
2500 V
Lexan
0,7
0,35-2,5 mm²
M3, Pozi
10 g

Vybraná varianta

Vyberte variantu ze seznamu

Kontakt

Jaroslav Béreš

Sales & Marketing manager

+420 733 122 162
Poslat e-mail
Zákaznický servis
Kontaktujte nás:
+420 241 484 940
Poslat e-mail
Potřebujete pomoci?
Logo

Cookies nastavení oemautomatic.cz

Soubory cookies nám pomáhají zlepšovat vaši zkušenost s námi a proto, abychom mohli zpracovávat přihlašovací údaje, nabízet personalizovaný obsah a pro základní funkčnost tohoto webu používáme některé soubory cookies.

Nikdy nebudeme prodávat žádné informace o vás.

Můžete přijmout všechny soubory cookies nebo přizpůsobit své preference týkající se souborů cookies, můžete také kdykoli změnit své preference pro soubory cookies návštěvou naší kontaktní stránky.


Nezbytné soubory cookies

Tyto soubory cookies jsou nezbytné pro fungování webu a nelze je v našich systémech vypnout. Obvykle se používají pouze v reakci na akce, které jste provedli v souvislosti s požadavkem na službu, například při nastavení osobních preferencí, přihlášení nebo vyplnění formuláře.

Soubory cookies pro analýzu a měření

Tyto soubory cookies nám umožňují počítat počet návštěv a zdroje návštěvnosti, abychom mohli měřit a zlepšovat výkon našich webových stránek. Pomáhají nám zjistit, které stránky jsou více či méně oblíbené a jak se návštěvníci po webu pohybují. Informace, které tyto cookies shromažďují jsou agregované, a tedy zcela anonymní. Pokud tyto soubory nepovolíte, nevíme, kdy jste navštívili naše webové stránky.

Marketingové soubory cookies

Tyto soubory cookies mohou přidat naši partneři. Mohou je použít k vytvoření vašeho profilu na základě vašich zájmů, aby vám mohli zobrazovat relevantnější informace. Neukládají žádné osobní údaje – pouze informace o vašem prohlížeči a zařízení. Pokud tyto cookies nepřijmete, budete mít obecnější a méně přizpůsobenou uživatelskou zkušenost.