PULS

Napájecí zdroje SL2.100, SL5.100, SL5.102

Série SL2.100, SL5.100, SL5.102

Zdroje řady SilverLine jsou vysoce kvalitní, odolné a mají dostatečný výkon. Navíc umožňují paralelní připojení. Výrobce však plánuje postupně ukončit výrobu této řady a nahradit ji modernější řadou DIMENSION Q. V současnosti doporučujeme používat řadu SilverLine pouze tam, kde není snadné změnit projekt nebo pokud neexistuje ekvivalent v novější řadě DIMENSION Q/ MiniLine. Technické parametry zahrnují SL2.100 (2.5A) a SL5.10x (5 A).
  • Někdejší špičková řada nap. zdrojů
  • V tuto chvíli jen na objednání
  • Doporučená náhrada: řada DIMENSION Q nebo MiniLine
  • Postupné ukončování výroby v horizontu let
Prumyslový napájecí zdroj SL2.100

SL2.100 - Pulsní zdroj 24Vss/2,5A

Prumyslový napájecí zdroj SL5.102

SL5.102 - Pulsní zdroj 24Vss/5A 1-fázový

Vybraná varianta

Varianty produkty

Vybraná varianta

Specifikace

Výstupní parametry

Výstupní napětí 24 V DC

Úcinnost / Životnost / MTBF

Účinnost 87,5 %

Rozmery a hmotnost

Hmotnost 0,46 kg

Ostatní parametry

Třída krytí IP20

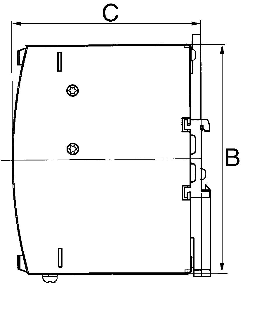
Rozměry a připojení

Drawing to SL2.5

SL2.100 B 125 mm, C 103 mm
SL5.100 B 125 mm, C 103 mm

Drawing to SL2.5

SL2.100 A 50 mm
SL5.100 A 50 mm

Connecting drawing to SL2.5

Popis produktu

Zdroje řady SilverLine se vyznačují vysokou kvalitou, robustním provedením, výkonovou rezervou a možností paralelního řazení. Upozornění: výrobce v horizontu několika let předpokládá postupné ukončování výroby této řady; modernější řada DIMENSION Q je postupně doplňována tak, aby v budoucnu řadu SilverLine kompletně nahradila. V tuto chvíli řadu SilverLine můžeme doporučit jen tam, kde není možné snadno změnit projekt nebo v případě, kdy zatím neexistuje ekvivalent v novější řadě DIMENSION Q/ MiniLine.

Technické parametry

 

SL2.100 (2.5A)

SL5.10x (5 A)

Vstup

 

 

Vstupní střídavé napětí*

85-132/176-264 V st
110/230 V standard volitelný přepínačem

85-132/176-264 V st
110/230 V standard volitelný přepínačem

Vstupní stejnosměrné napětí

160-375 V ss

210-375 V ss

Doporučené jištění vstupu

10 A B

10 A B

Frekvence sítě

47-63 Hz

47-63 Hz

Vstupní proud (115/230 V st)

1.3 A/ 0.7 A

2.6 A/ 1.4 A

Max. špičkový vstupní proud

<25 A

<15 A

Překlenutí krátkodobého výpadku v síti
(196 V st, I
nom)

>20 ms

>37 ms

PFC (EN61000-3-2)

splňuje

SL5.100 nesplňuje,
SL5.105 splňuje

 

 

 

Výstup

 

 

Výstupní napětí

24 V ss (nenastavitelné)

SL5.100: 24 V ss (nenastavitelné)
SL5.102: 24-28 V (nastavitelné)

Povolená odchylka
(v celém rozsahu vstupního napětí)

±2 %

±2 %

Zvlnění

<25 mVpp

<25 mVpp

Výstupní proud (24 V ss

2.5 A (60 W)

5 A (120 W)

Přetížitelnost

< 1.5 Inom

< 1.9 Inom

Účinnost (230 V st)

87.50 %

90 %

Provozní teplota

-10 °C ... +70 °C**
od +60°C nunost korekce zátěže 1,5W/°C (SL2.100),
resp. 3W/; C (SL5.10x)

Třída krytí

IP20

Hmotnost

460 g

620 g

Střední doba poruchy, MTBF
(Siemens standard SN 29500)

740,000 h

520,000 h

Homologace

UL 508 Listed, UL60950, UL60601-1, CB-Scheme

EMC

EN 61000-6-1, EN 61000-6-2, EN 61000-6-3, EN 61000-6-4.
FCC Part 15 Class B. EN55011/EN55022 Class B

Třída bezpečnosti

IEN 51558-2-17, EN61131-2, EN60204-1, EN50178

 

Rozměry

 

SL2.100

SL5.10x

rozměr A

50 mm

65 mm

rozměr B

125 mm

125 mm

rozměr C

103 mm

103 mm

 

Připojení


Pro dobré chlazení se doporučuje ponechat nad i pod zdrojem 25 mm a po stranách 15 mm volného prostoru.

Objednací informace

Objednací číslo

Vstupní napětí

Výstupní parametry

E-kód

SL2.100

Pulzní zdroj

fixní 24 V ss/ 2.5 A

E 52 191 00

SL5.100

fixní 24 V ss/ 5 A

E 52 191 05

SL5.102

nastav. 24-28 V ss/ 5 A

 

 

Příslušenství

INSPO

Produktové zprávy

Facility Management 4.0: Jak zajistit maximální bezpečnost a energetickou efektivitu vaší budovy

Moderní budovy již nejsou pouze statickými strukturami z betonu a skla. Stávají se z nich "živé organismy" řízené sofistikovanými nervovými systémy. Technologie pro monitorování a řízení procesů, často souhrnně označované jako BMS (Building Management Systems) nebo MaR (Měření a Regulace), jsou klíčové pro efektivitu, bezpečnost a komfort uživatelů.

Produktové zprávy

Efektivní oddělení řídicích a procesních obvodů pomocí reléových modulů DELCON

Případová studie z oblasti papírenského a chemického průmyslu

Produktové zprávy

Nová generace klimatizačních jednotek SLIMLINE NEO

Seifert Systems uvádí SLIMLINE NEO: Revoluční chlazení s R290 bez PFAS. Invertorová technologie srazí náklady a chrání klima. Budoucnost je teď.

Produktové zprávy

Adel System

Oznamuje navázání nové strategické spolupráce s italským výrobcem ADEL System, lídrem v oblasti zálohovaného napájení. Toto partnerství rozšiřuje naše portfolio o špičkové průmyslové napájecí zdroje, DC-UPS systémy a inteligentní nabíječky baterií, které jsou navrženy pro maximální spolehlivost a bezpečnost v nejnáročnějších aplikacích.

Produktové zprávy

Klimatizace pro potravinářský a nápojový průmysl

Zajistěte bezchybný výkon a chraňte veřejné zdraví. Tento průvodce vám pomůže vybrat zařízení, které odolá drsným podmínkám potravinářské výroby a splní veškeré regulační požadavky.

Produktové zprávy

Napájecí zdroj Puls s displejem

Informace přímo z displeje vašeho napájecího zdroje. Věděli jste, že informace můžete získat přímo z vašeho napájecího zdroje?

Objednací číslo Frekvence Výstupní napětí Výstupní proud Výkon Výstupní napětí při standardním provozu Účinnost Šířka Výška Hloubka Hmotnost Shoda s normami Doba přidržení Zvlnění (max.) Série Spotřeba při 120 V AC Spotřeba při 230 V AC Min. teplota bez omezení výstupního výkonu Max. teplota bez omezení výstupního výkonu Cena
24 V DC
87,5 %
0,46 kg
47 Hz
24 V DC
5 A
120 W
24 V DC
90 %
64 mm
124 mm
102 mm
0,62 kg
CB, UL
>37 ms
25 mV pp
Silverline
2,6 A
1,4 A
-10 °C
60 °C

Vybraná varianta

Vyberte variantu ze seznamu

Zákaznický servis
Kontaktujte nás:
+420 241 484 940
Poslat e-mail
Potřebujete pomoci?
Logo

Cookies nastavení oemautomatic.cz

Soubory cookies nám pomáhají zlepšovat vaši zkušenost s námi a proto, abychom mohli zpracovávat přihlašovací údaje, nabízet personalizovaný obsah a pro základní funkčnost tohoto webu používáme některé soubory cookies.

Nikdy nebudeme prodávat žádné informace o vás.

Můžete přijmout všechny soubory cookies nebo přizpůsobit své preference týkající se souborů cookies, můžete také kdykoli změnit své preference pro soubory cookies návštěvou naší kontaktní stránky.


Nezbytné soubory cookies

Tyto soubory cookies jsou nezbytné pro fungování webu a nelze je v našich systémech vypnout. Obvykle se používají pouze v reakci na akce, které jste provedli v souvislosti s požadavkem na službu, například při nastavení osobních preferencí, přihlášení nebo vyplnění formuláře.

Soubory cookies pro analýzu a měření

Tyto soubory cookies nám umožňují počítat počet návštěv a zdroje návštěvnosti, abychom mohli měřit a zlepšovat výkon našich webových stránek. Pomáhají nám zjistit, které stránky jsou více či méně oblíbené a jak se návštěvníci po webu pohybují. Informace, které tyto cookies shromažďují jsou agregované, a tedy zcela anonymní. Pokud tyto soubory nepovolíte, nevíme, kdy jste navštívili naše webové stránky.

Marketingové soubory cookies

Tyto soubory cookies mohou přidat naši partneři. Mohou je použít k vytvoření vašeho profilu na základě vašich zájmů, aby vám mohli zobrazovat relevantnější informace. Neukládají žádné osobní údaje – pouze informace o vašem prohlížeči a zařízení. Pokud tyto cookies nepřijmete, budete mít obecnější a méně přizpůsobenou uživatelskou zkušenost.