PULS

Napájecí zdroje SL5.300, SL10.300, SL20.310

Série SL5.300, SL10.300, SL20.310

Zdroje řady SilverLine se vyznačují vysokou kvalitou, robustním provedením, výkonovou rezervou a možností paralelního řazení. Za určitých podmínek lze zdroje provozovat i na 2 fáze, při tomto provozu však zdroje nesplňují PFC, mění se hodnota zvlnění výstupního napětí a zkracuje se životnost. Zdroje SL10.300 a SL20.310 mají propojku, kterou se volí chování zdroje při přetížení:

varianta a : při přetížení / zkratu dochází ke zvyšování výstupního proudu při snižování výstupního napětí. Tato funkce je výhodná pro zátěže s vyššími rozběhovými proudy.

varianta b : při zkratu či přetížení trvajícím cca. 4 s zdroj vypne, tento stav je signalizován blikající LED diodou. Pro opětovné spuštění zdroje je nutné stisknout resetovací tlačítko, nebo odpojit a znovu obnovit napájecí napětí.

Upozornění : výrobce v horizontu několika let předpokládá postupné ukončování výroby této řady; modernější řada DIMENSION Q je postupně doplňována tak, aby v budoucnu řadu SilverLine kompletně nahradila.

Technické parametry

 

SL5.300
5 A

SL10.300
10 A

SL20.310
20 A


Vstup

 

Vstupní napětí
střídavé

3x 400-500 V ±15 %

Vstupní napětí
stejnosměrné

450-820 V ss

Doporučené jištění
vstupu

10 A B

Frekvence sítě

50-60 Hz ±6 %

Vstupní proud
(400 V st)

3 x 0,5 A

3 x 0,8 A

3 x 1,5 A

Max. špičkový
vstupní proud

<25 A

< 15 A

< 25 A

Překlenutí
krátkodobého
výpadku
(I
nom, 400 V st)

> 16 ms

> 24 ms

> 11 ms

PFC (EN61000-3-2)

splňuje

 


Výstup

 

Výstupní napětí,
nastavitelné

24-28 V ss

Povolená odchylka
U
výstpři změně
U
vst min –> Uvst max

< ±2 %

Zvlnění

< 25 mVpp

< 30 mVpp

< 25 mVpp

výstupní proud
( 24 V ss)

5 A (120 W)

10 A (240 W)

20 A (480 W)

Výstupní proud
při výkonové
rezervě
(24 V ss, < 45 °C)

6 A (144 W)

12 A (288 W)

25 A (600 W)

Proudové přetížení

< 10 A

< 16 A

< 35 A

Účinnost (400 V st)

89 %

90 %

92 %

Provozní teplota

-10 °C ... +70 °C
(od +60 °C korekce zátěže
6 W / °C)

0 °C ... +70 °C
(od +60 °C korekce zátěže
12 W /° C)

Paralelní zapojení

možné

Třída krytí

IP20

Hmotnost

730 g

980 g

1,8 kg

Připojení

šroubové svorky,
max. průřez pevného vodiče 6 mm²,
lankového vodiče 4 mm²

Střední doba
poruchy
(MTBF)
(Siemensnorm SN 29500,
I
NOM, 400 V st, 40 °C)

410 000 h

543 000 h

504 000 h

Homologace

CE, UL 508 (USA+CAN), CSA 22.2 no 107.1-01 (jen typ SL10.300), UL60950-1,
CB-Scheme IEC 60950-1, GL, EN 61558-2-17, EN/IEC 60204-1, EN/IEC 61131-2,
EN 50178, IEC 62103

EMC

EN 61000-3-2 (PFC), EN 61000-3-3, EN 61000-6-1, EN61000-6-2, EN 61000-6-3, EN 61000-6-4,
EN 55011/ EN 55022 class B

Třída bezpečnosti

SELV IEC/EN 60950-1, PELV EN 60204-1, EN 50178, IEC 60364-4-41, IEC 62103

 

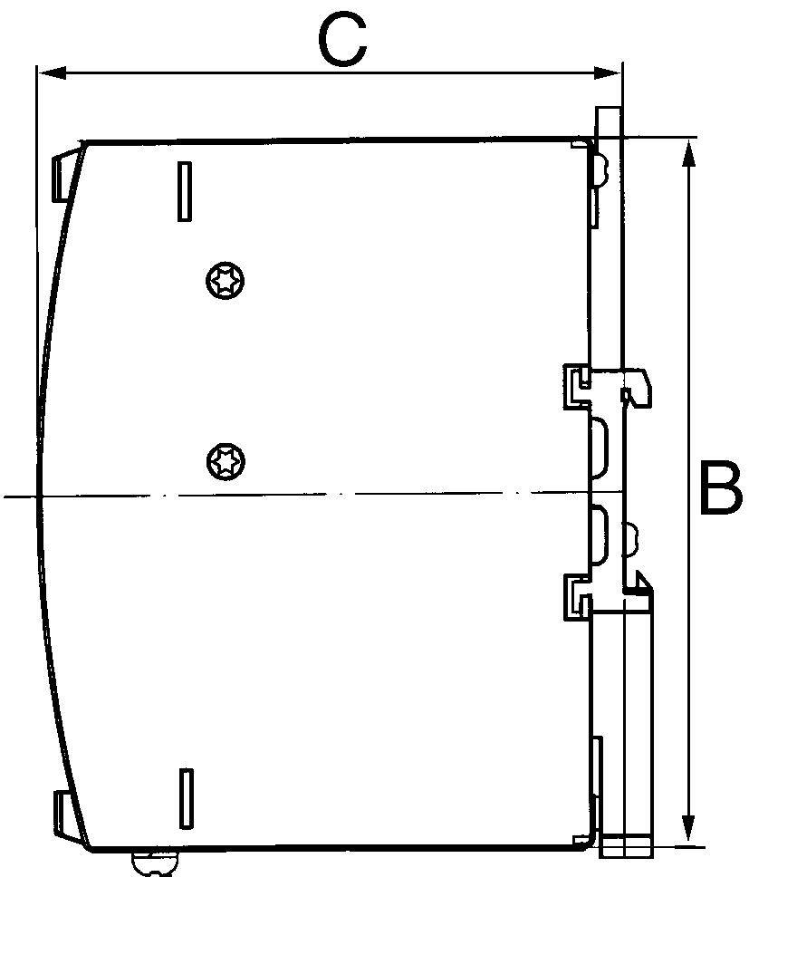
Rozměry

Jednotka

A

B

C

SL5.300

73

125

120

SL10.300

90

125

118

SL20.310

150

125

122


Doporučujeme zachovat nad zdrojem i pod ním 50 mm volného prostoru a 15 mm mezi zdroji

Objednací informace

Objednací čísla

Popis

Výstupní parametry

E-kód

SL5.300

Pulzní zdroj

24-28 V ss/5 A

E 52 191 50

SL10.300

24-28 V ss/10 A

E 52 191 52

SL20.310

24 V ss/20 A

E 52 191 55

 

  • Napájecí napětí 3x 400-500 V st, 450-820 V ss
  • Výkonová rezerva 20/ 25 %
  • Vysoká účinnost
  • Možnost paralelního řazení
Prumyslový napájecí zdroj SL5.300

SL20.310 - Pulsní zdroj 24Vss/20A 3f Fuse

Vybraná varianta

Varianty produkty

Vybraná varianta

Specifikace

Rozměry a připojení

Popis produktu

Zdroje řady SilverLine se vyznačují vysokou kvalitou, robustním provedením, výkonovou rezervou a možností paralelního řazení. Za určitých podmínek lze zdroje provozovat i na 2 fáze, při tomto provozu však zdroje nesplňují PFC, mění se hodnota zvlnění výstupního napětí a zkracuje se životnost. Zdroje SL10.300 a SL20.310 mají propojku, kterou se volí chování zdroje při přetížení:

varianta a : při přetížení / zkratu dochází ke zvyšování výstupního proudu při snižování výstupního napětí. Tato funkce je výhodná pro zátěže s vyššími rozběhovými proudy.

varianta b : při zkratu či přetížení trvajícím cca. 4 s zdroj vypne, tento stav je signalizován blikající LED diodou. Pro opětovné spuštění zdroje je nutné stisknout resetovací tlačítko, nebo odpojit a znovu obnovit napájecí napětí.

Upozornění : výrobce v horizontu několika let předpokládá postupné ukončování výroby této řady; modernější řada DIMENSION Q je postupně doplňována tak, aby v budoucnu řadu SilverLine kompletně nahradila.

Technické parametry

 

SL5.300
5 A

SL10.300
10 A

SL20.310
20 A


Vstup

 

Vstupní napětí
střídavé

3x 400-500 V ±15 %

Vstupní napětí
stejnosměrné

450-820 V ss

Doporučené jištění
vstupu

10 A B

Frekvence sítě

50-60 Hz ±6 %

Vstupní proud
(400 V st)

3 x 0,5 A

3 x 0,8 A

3 x 1,5 A

Max. špičkový
vstupní proud

<25 A

< 15 A

< 25 A

Překlenutí
krátkodobého
výpadku
(I
nom, 400 V st)

> 16 ms

> 24 ms

> 11 ms

PFC (EN61000-3-2)

splňuje

 


Výstup

 

Výstupní napětí,
nastavitelné

24-28 V ss

Povolená odchylka
U
výstpři změně
U
vst min –> Uvst max

< ±2 %

Zvlnění

< 25 mVpp

< 30 mVpp

< 25 mVpp

výstupní proud
( 24 V ss)

5 A (120 W)

10 A (240 W)

20 A (480 W)

Výstupní proud
při výkonové
rezervě
(24 V ss, < 45 °C)

6 A (144 W)

12 A (288 W)

25 A (600 W)

Proudové přetížení

< 10 A

< 16 A

< 35 A

Účinnost (400 V st)

89 %

90 %

92 %

Provozní teplota

-10 °C ... +70 °C
(od +60 °C korekce zátěže
6 W / °C)

0 °C ... +70 °C
(od +60 °C korekce zátěže
12 W /° C)

Paralelní zapojení

možné

Třída krytí

IP20

Hmotnost

730 g

980 g

1,8 kg

Připojení

šroubové svorky,
max. průřez pevného vodiče 6 mm²,
lankového vodiče 4 mm²

Střední doba
poruchy
(MTBF)
(Siemensnorm SN 29500,
I
NOM, 400 V st, 40 °C)

410 000 h

543 000 h

504 000 h

Homologace

CE, UL 508 (USA+CAN), CSA 22.2 no 107.1-01 (jen typ SL10.300), UL60950-1,
CB-Scheme IEC 60950-1, GL, EN 61558-2-17, EN/IEC 60204-1, EN/IEC 61131-2,
EN 50178, IEC 62103

EMC

EN 61000-3-2 (PFC), EN 61000-3-3, EN 61000-6-1, EN61000-6-2, EN 61000-6-3, EN 61000-6-4,
EN 55011/ EN 55022 class B

Třída bezpečnosti

SELV IEC/EN 60950-1, PELV EN 60204-1, EN 50178, IEC 60364-4-41, IEC 62103

 

Rozměry

Jednotka

A

B

C

SL5.300

73

125

120

SL10.300

90

125

118

SL20.310

150

125

122


Doporučujeme zachovat nad zdrojem i pod ním 50 mm volného prostoru a 15 mm mezi zdroji

Objednací informace

Objednací čísla

Popis

Výstupní parametry

E-kód

SL5.300

Pulzní zdroj

24-28 V ss/5 A

E 52 191 50

SL10.300

24-28 V ss/10 A

E 52 191 52

SL20.310

24 V ss/20 A

E 52 191 55

 

Příslušenství

INSPO

Produktové zprávy

Facility Management 4.0: Jak zajistit maximální bezpečnost a energetickou efektivitu vaší budovy

Moderní budovy již nejsou pouze statickými strukturami z betonu a skla. Stávají se z nich "živé organismy" řízené sofistikovanými nervovými systémy. Technologie pro monitorování a řízení procesů, často souhrnně označované jako BMS (Building Management Systems) nebo MaR (Měření a Regulace), jsou klíčové pro efektivitu, bezpečnost a komfort uživatelů.

Produktové zprávy

Efektivní oddělení řídicích a procesních obvodů pomocí reléových modulů DELCON

Případová studie z oblasti papírenského a chemického průmyslu

Produktové zprávy

Nová generace klimatizačních jednotek SLIMLINE NEO

Seifert Systems uvádí SLIMLINE NEO: Revoluční chlazení s R290 bez PFAS. Invertorová technologie srazí náklady a chrání klima. Budoucnost je teď.

Produktové zprávy

Adel System

Oznamuje navázání nové strategické spolupráce s italským výrobcem ADEL System, lídrem v oblasti zálohovaného napájení. Toto partnerství rozšiřuje naše portfolio o špičkové průmyslové napájecí zdroje, DC-UPS systémy a inteligentní nabíječky baterií, které jsou navrženy pro maximální spolehlivost a bezpečnost v nejnáročnějších aplikacích.

Produktové zprávy

Klimatizace pro potravinářský a nápojový průmysl

Zajistěte bezchybný výkon a chraňte veřejné zdraví. Tento průvodce vám pomůže vybrat zařízení, které odolá drsným podmínkám potravinářské výroby a splní veškeré regulační požadavky.

Produktové zprávy

Napájecí zdroj Puls s displejem

Informace přímo z displeje vašeho napájecího zdroje. Věděli jste, že informace můžete získat přímo z vašeho napájecího zdroje?

Objednací číslo Cena

Vybraná varianta

Vyberte variantu ze seznamu

Zákaznický servis
Kontaktujte nás:
+420 241 484 940
Poslat e-mail
Potřebujete pomoci?
Logo

Cookies nastavení oemautomatic.cz

Soubory cookies nám pomáhají zlepšovat vaši zkušenost s námi a proto, abychom mohli zpracovávat přihlašovací údaje, nabízet personalizovaný obsah a pro základní funkčnost tohoto webu používáme některé soubory cookies.

Nikdy nebudeme prodávat žádné informace o vás.

Můžete přijmout všechny soubory cookies nebo přizpůsobit své preference týkající se souborů cookies, můžete také kdykoli změnit své preference pro soubory cookies návštěvou naší kontaktní stránky.


Nezbytné soubory cookies

Tyto soubory cookies jsou nezbytné pro fungování webu a nelze je v našich systémech vypnout. Obvykle se používají pouze v reakci na akce, které jste provedli v souvislosti s požadavkem na službu, například při nastavení osobních preferencí, přihlášení nebo vyplnění formuláře.

Soubory cookies pro analýzu a měření

Tyto soubory cookies nám umožňují počítat počet návštěv a zdroje návštěvnosti, abychom mohli měřit a zlepšovat výkon našich webových stránek. Pomáhají nám zjistit, které stránky jsou více či méně oblíbené a jak se návštěvníci po webu pohybují. Informace, které tyto cookies shromažďují jsou agregované, a tedy zcela anonymní. Pokud tyto soubory nepovolíte, nevíme, kdy jste navštívili naše webové stránky.

Marketingové soubory cookies

Tyto soubory cookies mohou přidat naši partneři. Mohou je použít k vytvoření vašeho profilu na základě vašich zájmů, aby vám mohli zobrazovat relevantnější informace. Neukládají žádné osobní údaje – pouze informace o vašem prohlížeči a zařízení. Pokud tyto cookies nepřijmete, budete mít obecnější a méně přizpůsobenou uživatelskou zkušenost.